| Modellbahnfrokler >> | Selbstbau >> | SSt 06 >> | Gekröpfte Ladebrücke | Kontakt | Sitemap |
|---|
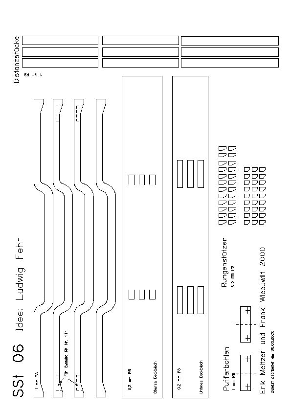
Idee: Ludwig Fehr
Umsetzung: Frank Wieduwilt
<frankw@modellbahnfrokler.de>
und Erik Meltzer
<ermel@modellbahnfrokler.de>

Bild 1: Der SSt 06 mit gekröpfter Ladebrücke. Für ein H0-maßstäbliches pdf einfach
draufklicken, wir haben auch
png
und
jpg.

Bild 2: Typenskizze unseres SSt 06, aus: Hoff, Wilhelm: Das deutsche
Eisenbahnwesen der Gegenwart, Berlin 1927(3), S. 164.
Zum Vergrößern einfach draufklicken!
Auf Wieduwilt.org
gibt's die Skizze natürlich auch, zudem mit mehr eingetragenen Maßen.
Mehr zum Vorbild (genauer: zu den Vorbildern) unseres Modells findest Du auf der SSt 06-Indexseite. Aber da kommst Du wahrscheinlich gerade her ;-)
Die Idee, den SSt 06 aus Plastik zu bauen, stammt von Ludwig Fehr (s. a. Miba 11/99). Ludwig Fehr war so freundlich, uns seine Skizze des SSt 06 und die Zeichnungen für den Zuschnitt der Langträger zuzuschicken, so dass wir schon mal eine gute Bauvorlage hatten. Um den Nachbau noch weiter zu erleichtern, haben wir alle notwendigen Teile auf einem Bastelbogen zusammengefasst (Abb. 3).

Bild 3: Bastelbogen für den SSt 06, zum Vergrößern einfach draufklicken. Wer kein PDF
drucken kann, findet hier ein JPG.
Die benötigten Materialien gibt es im Modellbahnladen und bei Modulor.
Zunächst musst Du Dir den Bauplan zweimal ausdrucken, wir benötigen die Distanzstücke teilweise doppelt.
Alle Teile werden nun grob aus dem Bauplan geschnitten und auf die PS-Platten geklebt. Zum Kleben verwende ich Fotokleber, der sich gut wieder abpuhlen läßt, Montagekleber geht genauso gut. Wenn irgend möglich sollten die Langträger zusammen bleiben, damit sie leicht auf gleiche Länge geschnitten werden können.
Als erstes werden die Löcher für die Puffer in die Pufferbohlen gebohrt. (Durchmesser: 2,3 mm).
Mit einem Bastelmesser oder Skalpell werden die Teile nun aus den Platten herausgeschnitten. Fang am besten mit den Distanzstücken an, schneide dann die Pufferbohlen und Deckbleche und erst ganz zum Schluss die Langträger aus. Bei den Langträgern hat es sich bewährt, erst alle vier Träger zusammen auf Länge zu schneiden, dann die einzelnen Träger grob auszuschneiden und die genaue Form mit einer Feile herzustellen. Damit der Wagen später gut aussieht, ist es wichtig, dass die Langträger so weit wie möglich identisch sind. Am einfachsten erreichst Du das, indem Du alle vier Langträger übereinander in einen Schraubstock spannst und mit der Feile anpasst.
Bereits jetzt solltest Du ausprobieren, ob die Kurzkupplungskulisse in die Ausschnitte in den Langträgern passt. Falls nicht, ist es jetzt noch sehr einfach, die Ausschnitte anzupassen.
Alle Teile werden nun vom Papier befreit und sollten noch einmal sorgfältig auf Grate untersucht werden
Zum Zusammenbau haben wir eine Helling (als PDF oder JPG) vorbereitet, es geht aber auch ohne.
Ganz wichtig, ist, sich viel Zeit zu nehmen und dem Kleber immer Zeit zum Trocknen zu geben. Wenn es Dir langweilig wird, kannst Du in den Pausen ja schon die Drehgestelle vorbereiten.
Als erstes werden die beiden mittleren Langträger durch zwei kurze Distanzstücke oberhalb der Drehgestelle auf der Oberseite der Ladebrücke miteinander verbunden. Die Distanzstücke sollen so eingepasst sein, dass sie genau mit der Oberseite der Langträger abschließen. Achte dabei darauf, dass die Langträger nicht zueinander versetzt sind, sonst passt später die Pufferbohle nicht mehr. Wenn der Kleber trocken ist, wird das mittlere lange Distanzstück auf der Oberseite der Ladebrücke eingeklebt.
Nun markiere die Mitte auf den Pufferbohlen und auf den Distanzstücken und klebe die Pufferbohlen genau ausgerichtet an die Langträger.
Jetzt können die beiden äußeren Langträger mit Hilfe der Distanzstücke montiert werden.


Bild 4: Rahmen des SSt ohne Deckbleche.
Ein Plastikwagen ist natürlich viel zu leicht, um vernünftig zu laufen. Für Ballast gibt es verschiedene Möglichkeiten: Für die ersten Wagen nahmen wir Schienenprofile, die im unteren Teil der Brücke zwischen die Langträger geklebt werden. Genauso gut geht natürlich auch Bleiblech, das in schmale Streifen geschnitten und auf die Distanzstücke geklebt wird.
ACHTUNG: Blei ist giftig: Bitte benutze beim Arbeiten Handschuhe oder wasche Deine Hände häufig. Bei der Arbeit mit Bleiblech solltest Du nicht essen, trinken oder rauchen. Das Bleiblech sollte so bald wie möglich lackiert werden. WIR ÜBERNEHMEN KEINE VERANTWORTUNG!
Egal, welcher Ballast es war, jetzt sollten die unteren Distanzstücke eingeklebt und der Wagen erstmal zum Trocknen beiseite gelegt werden.
Das Aufkleben der Deckbleche gestaltet sich etwas heikel. Die PS-"Bleche" weichen nämlich bei zu großzügiger Verwendung von Plastikkleber ziemlich auf, daher sollte der Kleber höchst sparsam verwendet werden.
Am einfachsten ist es, mit dem oberen Deckblech zu beginnen, weil es zwei Biegungen weniger hat.
Um das Blech korrekt ausrichten zu können, wird auf dem Blech und auf den Langträgern mit Bleistift die Wagenmitte markiert. Das Deckblech wird von der Mitte ausgehend nach und nach angeklebt, wobei darauf zu achten ist, dass es sich nicht verschiebt und der Überstand auf beiden Außenseiten gleich ist. Es ist eine gute Idee, das Blech während des Trocknens mit Holzwäscheklammern zu fixieren.
Das untere Blech wird genauso angeklebt.
Das obere Blech wird an den Außenseiten durch einen untergeklebten PS-Streifen von 0,5 mm Stärke verstärkt.
Jetzt sieht das, was vor uns steht, schon wie ein Tieflader aus na ja, fast.
Als KK haben wir die Kulissen mit der Nummer 111 von Symoba vorgesehen, die eine sehr kleine Einbaufläche haben und die Möglichkeit bieten, die Kupplungsaufnahme in der Höhe anzupassen.
In den beiden mittleren Langträgern sind Ausschnitte für die KK vorgesehen, die jetzt aber noch vom unteren Deckblech verdeckt werden (darum Deckblech :-). Um die Ausschnitte wieder freizulegen, muss 5 mm hinter der Vorderkante der Pufferbohle ein Schnitt in das Deckblech gemacht werden. Dieser Schnitt wird vorsichtig erweitert, bis ein Ausschnitt vorhanden ist, in den die KK hineinpasst.
Nachdem alle Späne und Kunststofffetzen entfernt sind, kann die KK mit viel 2-K-Kleber genau mittig eingeklebt werden.
Der Abstand Pufferbohle - Drehzapfen beträgt genau 34 mm. In diesem Abstand wird genau mittig ein Loch von 4 mm Durchmesser in den Wagenboden gebohrt und das Kunststoffrohr darin verklebt. Das Rohr sollte etwa 6 mm Überstand haben, das genaue Maß wird später durch Feilen erreicht.

Bild 5: Ein SSt im Rohbau, schon mit Drehgestellen, aber noch ohne Ladeschwellen
und Puffer
Die Drehgestelle stammen vom Liliput-Modell des SSy 46. Sie stimmen zwar nicht hundertprozentig mit den Originaldrehgestellen überein, aber wir sind ja schließlich Pfuscher und der Gesamteindruck stimmt. Alternativ gibt es dreiachsige Güterwagendrehgestelle noch bei Roco unter dem SSt 49 und bei Brawa unter dem sechsachsigen genieteten Kesselwagen genau passen tun die natürlich alle nicht ...
Wen man wie wir bei den Liliput-Drehgestellen bleibt, kann man diese dem Vorbild noch ein wenig anpassen, indem man sie auf der Oberseite mit 1 mm starkem PS höher macht und vorn und hinten leicht abschrägt (s. Typenskizze). Das war's auch schon. Die Drehgestelle können später mit den Original-Liliput Schrauben angeschraubt werden. Wir sind bis jetzt davor zurückgeschreckt, die eigentliche notwendigen Ausschnitte in die Drehgestellblenden zu machen, weil sich der Kunststoff, den Liliput für die Drehgestelle verwendet, nur sehr schwer bearbeiten läßt.
Um festzustellen, ob die Puffer die richtige Höhe haben, werden die Puffer samt Sockelplatten jetzt eingeklebt und der Wagen lose auf die Drehgestelle gesetzt. Wenn die Puffer zu niedrig liegen, kann die Ladebrücke höher gelegt werden, indem Kunststoffstreifchen neben dem Drehzapfen unter den Wagenboden geklebt werden.
Die Ladeschwellen entstehen ganz einfach aus passend abgelängtem 2×3 mm-PS-Profil und werden nach der Zeichnung aufgeklebt. Auf einigen Fotos im Miba-Artikel ist zu sehen, dass die Vorbildwagen z. T. auf dem mittleren Teil der Brücke keine Ladeschwellen hatten.
Das Ausschneiden der Rungenstützen aus 0,5 mm PS ist eine tierische Fieselei. Das Ankleben übrigens auch.
Die genaue Lage der Rungen wird aus der Typenskizze oder der H0-Zeichnung abgenommen und mit Bleistift oder Folienschreiber auf den Langträgern markiert.
Die Rungenstützen haben unterschiedliche Größen, also aufgepasst! Die hohen Stützen gehören an den Mittelteil der Ladebrücke.
Wenn die Rungenstützen nach stundenlanger Kleinarbeit endlich befestig sind, werden die Rungen aus dem Zurüstsatz des Roco-SS 15 an die Rungenstützen geklebt und das Fleischmann-Bremserhaus montiert.

Bild 6: Die fertige Ladebrücke mit eingeklebten Kurzkupplungskulissen.
Der Wagen wird mit Kupplungen eigener Wahl versehen, wir verwenden die Roco Universalkupplung.
Der Wagen erhält abschließend Rangiergriffe und -tritte auf der der Bremserbühne gegenüber liegenden Seite und zwei Schilder für das Kreidefeld und die Zettelhalter, von der Seite her gesehen jeweils links am oberen Teil der Bühne.
Der ganze Wagen wird tiefschwarz, Revell 302, lackiert. Es existiert allerdings auch schon ein Privat-SSt der Allgemeinen Elektrizitätswerke, AEW, dessen Ladebrücke dunkelblau lackiert ist.
Für den SSt 06 gibt es, wie für den Smr 35, keine Beschriftung zu kaufen, momentan bleibt nichts anderes übrig, als eine Beschriftung anfertigen zu lassen oder zusammenzustückeln
TBD
Auch wenn es nicht so aussieht: Tieflader waren keineswegs nur für besonders schwere Güter gedacht, sondern vielmehr für solche, die so sperrig waren, dass sie sonst ins Lichtraumprofil geragt hätten. Beliebte Ladegüter waren Trafos, Überseekisten und Maschinenteile. Aber auch Loks konnten auf Tiefladern ins AW transportiert werden.
Mittlerweile haben schon einige Leute diesen Wagen nachgebaut. Hier wollen wir Links zu diesen Bauberichten sammeln; wer einen (eigenen oder fremden) beizusteuern hat, der darf sich gerne melden! Und das gilt, es sei betont, ausdrücklich auch und gerade für traditionell mit Bastelbogen selbstgeschnitzte Exemplare gemäß obiger Anleitung und nicht nur für die doch schon professioneller gebauteren Exemplare, zu denen nun die Links kommen:
Wir sind beeindruckt! Und wie geschrieben: wenn Du auch einen gebaut hast, würden wir uns über entsprechende Links und/oder Bilder sehr freuen. (Irgendwann bauen wir unsere eigenen auch mal fertig ... ;-)
| Modellbahnfrokler >> | Selbstbau >> | SSt 06 >> | Gekröpfte Ladebrücke | Kontakt | Sitemap |
|---|
| Fragen an die Autoren? Mail an Ermel oder Mail an Frank | ||
|---|---|---|
| Zuletzt bearbeitet am 31. Oktober 2016 | Technische Probleme? Mail an Webmaster | |